三相交流系统短路电流计算
GB/T 15544-1995
国家技术监督局1995-04-06批准
1996-01-01实施
本标准等效采用IEC909(1988)《三相交流系统短路电流计算》(以下简称《909标准》)。
第一篇 概 述
1 主题内容与适用范围
1.1 主题内容
本标准规定了用等效电压源法计算三相交流系统短路电流,并提出了计算中采用的校正系数的求取方法及推荐值。
1.2 适用范围
本标准适用于标称电压380V~220kV,频率50Hz的三相交流系统的短路电流计算。
本标准不适用于受控条件(短路试验站)下人为短路和飞机、船舶用电气设备的短路计算。
本标准主要作为进出口设备及对外工程投标使用,在国内工程计算中逐步推广采用。
2 引用标准
GB 156—93 额定电压
GB 2900.1—92 电工术语 基本术语
GB 2900.25—94 电工术语 旋转电机
3 术语
3.1 短路 short-circuit
通过一个比较低的电阻或阻抗,偶然地或有意地对正常电路中不同电压下的两个或几个点之间的连接。
3.2 短路电流 short-circuit current
在电路中,由于故障或不正确连接造成短路而产生的过电流。
注:需区别流过短路点和电网支路中的短路电流。
3.3 预期(可达到的)短路电流 prospective(available)short-circuit current
电源不变,将短路点用阻抗可忽略的理想连接代替时,流过短路点的电流。
注:假设三相短路电流是由于三相同时短路而产生的。由于三相不在同一瞬间短路,在短路电流中可能出现较大的非周期分量的研究不属于本标准范围。
3.4 对称短路电流 symmetrical short-circuit current
不计非周期分量时的预期(可达到的)短路电流对称交流分量的有效值。
3.5 对称短路电流初始值 initial
symmetrical short-circuit current
系统非故障元件的阻抗保持为短路前瞬间值时的预期(可达到的)短路电流的对称交流分量有效值(见图1和图12)。
3.6 对称短路视在功率初始值
initialsymmetrical
short-circuit(apparent)power
对称短路电流初始值、系统标称电压Un和系数
三者相乘的积。即:![]()
3.7 短路电流直流(非周期)分量iDC
D.C(aperiodic)component of short-circuit current
短路电流上下包络线间的平均值,该值从初始值衰减到零值(见图1和图12)。
3.8 短路电流峰值 iP peak short-circuit current
预期(可达到的)短路电流的最大可能瞬时值(见图1和图12)。
注:短路电流峰值的大小与短路发生的瞬间有关。三相短路电流峰值ip的计算只对会出现最大短路电流的某相和某一瞬间进行。不考虑连续发生的故障。三相短路指三相同时短路。
3.9 开断电流 short-circuit breaking current
3.9.1 对称开断电流Ib
symmetrical short-circuit breaking current
在开关设备的第一对触头分断瞬间,预期短路电流对称交流分量在一个周期内的有效值。
3.9.2 不对称开断电流Ibasym
asymmetrical short-circuit breaking current
不对称开断电流Ibasym按下式计算:
3.10 稳态短路电流IK steady-state short-circuit current
暂态过程结束后的短路电流有效值(见图1和图12)。
3.11 对称堵转电流ILR
symmetrical looked-rotor current
在额定电压Urm和额定频率下,异步电动机转子堵住时的最大对称电流有效
值。
3.12 等效电路 equivalent electric circuit
用理想元件组成的网络来描述一个电路性能的模型。
3.13
(独立)电压源 (independent)voltage source
用一个不受电路中所有电流和电压影响的理想电压源和一个无源电路元件相串联来表示的有源电路元件。
3.14 系统标称电压Um
nominal system voltage
电力系统被指定的电压(线电压),此电压与电力系统的某些运行特性有关。
3.15 等效电压源
equivalent
voltage source
为计算正序系统短路电流,而加于短路点的理想电压源。在网络中,等效电压源是唯一的有源电压。
3.16 电压系数c
voltage factorc
等效电压源与被
除的系统标称电压之比,该值在表1给出。
3.17 同步电机的超瞬态电热E subtransient voltage E” of a synchronous
machine
短路瞬间,在超瞬态电抗I〃d后起作用的同步电机对称内电势的有效值。
3.18 远端短路 far-from generator short circuit
预期(可达到的)短路电流对称交流分量的值在短路过程中基本保持不变的短 路。
3.19 近端短路 near-to generator short circuit
至少有一台同步电机供给短路点的预期对称短路电流初始值超过这台发电机额定电流两倍的短路;或同步和异步电动机反馈到短路点的电流超过不接电动机时该点的对称短路电流初始值I〃K的5%的短路。
3.20 短路点F的短路阻抗 short-circuit impedances at the short-circuit
location F
3.20.1 三相交流系统的正序短路阻抗
positive-sequence
short-circuit impedance
of a threephase
a.c. system
从短路点看的正序系统阻抗(见第8.3.1条和图4a)。
3.20.2 三相交流系统的负序短路阻抗
negative-sequence
short-circuit impedance
of a threephase
a.c.system
从短路点看的负序系统阻抗(见第8.3.1条和图4b)。
3.20.3 三相交流系统零序短路阻抗
zero-sequence
short-circuit impedance
of athree-phase
a.c.system
从短路点看的零序系统阻抗(见第8.3.1条和图4c)。
3.20.4 三相交流系统短路阻抗
short-circuit
impedance
of a three-phase
a.c.system
用作三相短路电流计算的正序短路阻抗的简略表示符号。
3.21 电气设备的短路阻抗 short-circuit impedance of electrical
equipment
3.21.1 电气设备的正序短路阻抗
positive-sequence
short-circuit impedance
ofelectrical
equipment
当由对称的正序电压系统供电时,线对中性点电压同电气设备相应相的短路电流之比(见第8.3.2条)。
注:当负序阻抗和零序阻抗不可能同正序阻抗混淆时,表示正序阻抗的下标可以省略。
3.21.2 电气设备的负序短路阻抗
negative-sequence
short-circuit impe- dance
ofelectrical
equipment
当由对称的负序电压系统供电时,线对中性点电压同电气设备相应相的短路电流之比(见第8.3.2条)。
3.21.3 电气设备的零序短路阻抗
zero-sequence
short-circuit
of electricalequipment
当用三条并联的导线作为电流进线,第四根导线或大地作为回线,设备由交流电压供电时,线对地电压与电气设备相连的一个相的短路电流之比(见第8.3.2 条)。
3.22 同步电机的超瞬态电抗X〃d ubtransient reactance X〃d of a synchronousmachine
短路瞬间的有效电抗。计算短路电流时,用的饱和值。
3.23 断路器的最小延时tmin
minimum time delay tmin of
a circuit breaker
从短路开始至开关设备第一对触头分离间的最短时间间隔。
注:时间tmin指瞬动继电器的可能最快动作时间与断路器的最短分离时间之和,不包括跳闸机构的可调延迟时间。
4 符号、下角符和上角符
字母下划一横线表示复数,如
。
计算时可用有名值或相对值,因此标准中列出的公式没有注明单位。用有名值计算时,本标准都用法定计量单位。
4.1 符号
A 非周期分量的初始值
c 电压系数
等效电压源(有效值)
E〃同步电机超瞬态电势
f 频率(50 Hz)
Ib 对称开断电流(有效值)
Ibasym 不对称开断电流(有效值)
Ik稳态短路电流(有效值)
IKP在复励发电机端短路时的稳态短路电流
I〃K或I〃K3对称短路电流初始值(有效值)
ILR异步电动机堵转电流
iDC短路电流中的非周期分量
iP短路电流峰值
K阻抗校正系数
PKT变压器的负载损耗
q 用于计算异步电动机开断电流的系数
qn标称截面
R和r电阻有名值和相对值
RG计算电流I〃K和iP时的同步电机的假想电阻
S〃K对称短路功率初始值(视在功率)
Sr电气设备的额定视在功率
tf假想变比
tmin最小延时
tr额定变比(分接位开关于主分接时)
Un系统标称电压,线电压(有效值)
Ur设备的额定电压,线电压(有效值)
ukr阻抗电压,%
uRr电阻电压,%
、
、
正序、负序和零序电压
X和x 电抗有名值和相对值
Xd和Xq直轴同步电抗和交轴同步电抗
Xdq考虑励磁影响后,在复励发电机端稳态短路时的发电机计算电抗
X〃d和X〃q直轴超瞬态电抗和交轴超瞬态电抗(二者均为饱和值)
短路比的倒数
正序短路阻抗
负序短路阻抗
零序短路阻抗
η 异步电动机效率
κ 短路电流峰值计算系数
λ 稳态短路电流计算系数
μ 对称短路开断电流计算系数
u0真空绝对导磁率
ρ 电阻率
φ 相角
4.2 下角符
(1)正序
(2)负序
(0)零序
f 假想值
k或k3 三相短路
k1 单相接地短路或单相对中性线短路
k2 两相不接地短路
k2E和kE2E 两相接地短路时的线电流和流入地或中性线的电流
max 最大值
min 最小值
n 标称值
r 额定值
rs1 结果
t 换算值
AT 厂用变压器
B 母线
E 大地
F 故障点或短路点
G 发电机
HV 高压,变压器高压绕组
LV 低压,变压器低压绕组
L 相线
LR 堵转转子
La、Lb、Lc三相系统的a、b、c相线
M 异步电动机或异步电动机组
M 断开异步电动机(组)或不考虑异步电动机(组)
MV 中压,变压器中压绕组
N 三相交流系统的中性线
P 端,极
PSU 发电机—变压器组
Q 馈电网络连接点
T 变压器
4.3 上角符
″ 初始(超瞬态)值
′ 单位长度电阻或电抗

图 1 远端短路时的电流波形图
I″k—对称短路电流初始值;iP—短路电流峰值;Ik—稳态短路电流;
iDC—短路电流的非周期分量;A—非周期分量iDC的初始值
5 短路电流非周期分量iDC
在计算短路电流时,不仅要计算短路电流的对称交流分量,还要计算短路后瞬间出现的短路电流峰值iP,它的值与频率f和X/R有关。在网状电网中,有若干个时间常数,因此在计算iP和iDC时不可能给出计算精度高的简易方法。标准第9.1.3.2条推荐有关iP的计算方法。
在计算不对称开断电流ibasym时,应算非周期分量iDC(见图1和图12)。iDC的计算公式如下:
(1)
式中:I〃k——对称短路电流初始值;
f——电力系统标称频率,50Hz;
t——时间;
R/X——短路阻抗的电阻与电抗之比。
对于网状电网中的短路,按第9.1.3.2条方法B计算时,应在式(1)右边乘1.15;按第9.1.3.2条方法C计算时,其等效频率按下面选择:
|
t |
0.01 |
0.02 |
0.05 |
0.1 |
0.25 |
|
fc/f |
0.4 |
0.27 |
0.15 |
0.092 |
0.055 |
其中:f=50
Hz。
6 计算前提条件
在计算短路电流时,根据不同用途需要计算最大和最小短路电流,用于选设备容量或额定值需要计算最大短路电流和作为选择熔断器、整定继电保护及校核电动机起动所需要的最小短路电流,它们都是以下面条件为基础的:
a.在短路持续时间内,短路相数不变,如三相短路保持三相短路,单相接地短路保持单相接地短路;
b.具有分接开关的变压器,其开关位置均视为在主分接位置;
c.不计弧电阻。
对于图2所示的对称短路和不对称短路,可用对称分量法计算其短路电流。

图 2 短路方式和电流方向
注:图中箭头方向为任意选定的电流流向
7 短路点的等效电压源
对于远端和近端短路都可用一等效电压源计算短路电流。
用等效电压源计算短路电流时,短路点用等效电压源
代替,该电压源为网络的唯一的电压源,其它电源,如同步发电机、同步电动机、异步电动机和馈电网络的电势都视为零并用自身内阻抗代替。
用等效电压源计算短路电流时,可不考虑非旋转负载的运行数据和发电机励磁方式。
用等效电压源时,除零序网络外,线路电容和非旋转负载的并联导纳都可忽 略。
计算近端短路时,对于发电机及发电机—变压器组的发电机和变压器的阻抗应用修正后的值(见第10.3.2.6、10.3.2.7和10.3.2.8条)。同步电机用超瞬态阻抗,异步电动机用堵转电流算出的阻抗。在计算稳态短路电流时,才需考虑同步机同步电抗和其励磁顶值。
除等效电压源法外,如果能得到同样的计算精度,不排除在特殊情况下,用特殊计算方法,如叠加法,或其它精确计算方法。
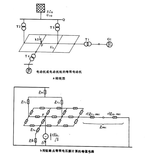
图3为一单侧电源馈电并用等效电压源计算短路网络的一个算例。各阻抗按第8.3.2条计算。等效电压源
中的电压系数c根据表1选用,计算最大值用最大电压系数(Cmax),最小值用最小电压系数(Cmin)。

图 3 用等效电压源计算
示意图
表1
|
标称电压 Un |
计算最大短路电流的电压系数 cmax |
计算最小短路电流的电压系数 cmin |
|
220/380 V 380/660 V和1140 V |
1.00 1.05 |
0.95 1.00 |
|
3~35 kV |
1.10 |
1.00 |
|
35~220 kV |
1.10 |
1.00 |
注:电压系数c与标称电压Un的积应不超过设备最高电压Um。
用于计算短路电流最大值的等效电压源按式(2)计算。
a.电压为220/380 V:
(2a)
b.电压为380/660
V和1140 V:
(2b)
c.电压为3~35kV及35~220kV:
(2c)
第二篇 短路电流中交流分量不衰减的系统
(远端短路)
8 远端短路
远端短路的短路电流波形如图1所示。对于远端短路,可以认为短路电流的交流分量是不衰减的,即预期短路电流是由不衰减的交流分量和以初始值A衰减到零的非周期分量组成。因此,可以认为远端短路的对称电流初始值I〃K和稳态短路电流IK(有效值)是相等的,计算远端短路,认为I〃K=Ib=IK,三者相等,只需对I〃K和iP进行计算。对一电网经变压器馈电的短路,当馈电网络电抗XQ t与变压器低压侧电抗XTLV满足关系式XTLV≥2XQt时,可视为远端短路(如图3)。
8.1 对称短路
计算对称三相短路时,只需计算正序阻抗
。
8.2 不对称短路
本标准只对以下三种短路形式进行计算:
两相不接地短路(图2b);
两相接地短路(图2c);
单相接地短路(图2d)。
通常,三相短路时的电流最大,但在靠近中性点接地的变压器或接地变压器附近发生单相接地短路时,其短路电流可能大于三相短路电流。具有Yz、Dy和Dz向量组结线的变压器,其低压绕组Y或Z接地时,更是如此。
用对称分量法时,将不对称短路的系统分解为三个独立的对称系统,各相电流由以下三个对称分量系统的电流叠加。
(3a)
(3b)
(3c)
;
(4)
用对称分量法求解时,假定系统阻抗平衡,对不换位线路,短路电流计算的结果也具有可接受的精度。
8.3 短路阻抗
在应用此标准时,应区分短路点F的短路阻抗和电气设备的短路阻抗。用对称分量法时还应考虑序网阻抗。
8.3.1 短路点F的短路阻抗
研究短路点F的正序或负序阻抗时,电网内的所有同步电机和异步电动机都用自身的相应序阻抗代替,

图 4 三相交流系统F点短路时的短路阻抗
根据图4a或图4b即可确定F点的正序或负序短路阻抗
或
,按第9章计算短路电流时,线路电容和非旋转负载的并联导纳均可忽略。
对于三相对称短路,正序阻抗是唯一需用的阻抗,在这种条件下,![]()
。
旋转电机的正序和负序阻抗可能不相等。在本篇“远端短路”的计算中,通常取![]()
。
在短路线和共用回线(如接地系统、中性线、地线、电缆外壳和电缆铠装)间加一交流电压,根据图4c即可确定F点的零序短路阻抗
。
在计算中性点不接地或经消弧线圈接地的中、高压电力系统中不对称短路电流时,线路零序电容和非旋转负载的零序并联导纳不能忽略。
对于中性点接地的电力系统,在不计线路零序电容情况下,短路电流计算值要比实际值大。其差值与系统中某些数据有关,如中性点接地变压器间的线路长度。
在计算低压系统中的短路电流时,可忽略线路电容和非旋转负载的并联导纳。
除特殊情况外,零序短路阻抗与正序短路阻抗不等。
8.3.2 电气设备短路阻抗
对于馈电网络、变压器、架空线路、电缆线路、电抗器和其它类似电气设备,它们的正序和负序短路阻抗相等,即![]()
。计算线路零序阻抗时,在零序网络中,假设在三条平行导线和返回的共用线间有一交流电压,共用线流过三倍零序电流,如图5d所示。一般情况下,零序短路阻抗与正序短路阻抗不相等。
可以小于、等于和大于
。

图 5 测量零序短路阻抗接线图

图 6 电网馈电短路的系统图和等值电路
8.3.2.1 馈电网络阻抗
如图6a所示,由电网向短路点馈电的网络,仅知节点Q的对称短路功率初始值S〃KQ或对称短路电流初始值I〃KQ,在Q点的网络阻抗ZQ按下式计算:
(5a)
如果由中压或高压电网经变压器向短路点馈电,仅知节点Q的对称短路功率初始值S〃KQ或对称短路电流初始值I〃KQ,如图6b所示,应归算到变压器低压侧的阻抗ZQt按下式计算:
(5b)
式中:ZQt——归算到变压器低压侧的阻抗;
Un Q——Q点的系统标称电压;
S〃KQ——馈电网络在节点Q的对称短路功率初始值(视在功率);
I〃KQ——流过Q点的对称短路电流初始值;
c——电压系数,见表1和式(2);
tr——分接开关在主分接位置时的变压器额定变比。
若电网电压在35kV以上时,网络阻抗可视为纯电抗(略去电阻),即ZQ=0+jXQ。
计算中若计及电阻但具体数值不知道,可按式RQ=0.1XQ和XQ=0.995ZQ计算。
可以不计算馈电网络的零序阻抗,仅在特殊场合才计算此值。
8.3.2.2 变压器的阻抗
双绕组变压器的正序短路阻抗
按下式计算:
(6)
(7)
(8)
式中UrT——变压器高压侧或低压侧的额定电压;
IrT——变压器高压侧或低压侧的额定电流;
SrT——变压器额定容量;
PkrT——变压器的负载损耗;
uKr——阻抗电压,%;
uRr——电阻电压,%。
计算大容量变压器短路电流时,可略去绕组中的电阻,只计电抗,只是在计算短路电流峰值iP或非周期分量iDC时才计及电阻。
双绕组或多绕组变压器的零序短路阻抗
,由制造厂给出。
注:对于有分接开关的变压器,按式(6)算出的阻抗是对应主分接时的值。对电流、电压和阻抗进行换算时,用主分接位置的变比。
仅以下情况需特殊考虑;
a.计算单侧电源馈电的短路电流且短路电流方向与短路前电流方向一致时(如图3或图6b所示的有分接开关的单台或多台并联变压器低压侧的短路)。
b.有分接开关变压器,其变比变化范围可能较大时,即:
UTHV = UrTHV (1±PT) 而PT>0.05
c.变压器最小短路电压ukmin比对应主分接的额定短路电压ukr小(ukmin<ukr)时。
d.变压器运行时的实际电压高于系统标称电压Un(U≥1.05Un)时。
图7所示三绕组变压器的正序短路阻抗
、
、
按下式计算(换算到H 侧)

图 7 三绕组变压器
(L侧开路)
(9a)
(M侧开路)
(9b)
(H侧开路)
(9c)
代入下式可得:
(10a)
(10b)
(10c)
式中:UrTH——变压器额定电压;
SrTHM——H、M间的额定容量;
SrTHL——H、L间的额定容量;
SrTML——M、L间的额定容量;
ukrHM——H、M间的阻抗电压,%;
ukrHL——H、L间的阻抗电压,%;
ukrML——M、L间的阻抗电压,%。
8.3.2.3 架空线和电缆的阻抗
架空线和电缆的正序短路阻抗
=RL+jXL可按导线有关参数计算。其零序短路阻抗Z(0) = R(0) +j X0可通过测量或按R(0)L /RL和X(0)L
/ XL计算。
高、低压电缆的正序和零序阻抗
、
的大小与国家的制造工艺水平和标准有关,具体数值可从手册或制造厂给出的数据中得到。
导线平均温度20℃时的架空线单位长度有效电阻RL可根据电阻率ρ和标称截面qn,用下式计算:
(11)
式中:ρ——材料电阻率,铜为ρ=1/54Ω·mm2/m,铝为ρ=1/34Ω·mm2/m,铝合金为ρ=1/31Ω·mm2/m;
qn——导线标称截面。
对于换位架空线,单位长度的电抗X’L (Ω/km),按下式计算:
(12a)
式中:d——导线间的几何均距或相应的导线的中心距离,其值为:
;
r——单导线时,指导线的半径;分裂导线时,
,其中R为分裂导线半径,r0为每根导线半径;
n——分裂导线数,单导线时,n=1;
μ0——真空绝对导磁率。
若真空绝对导磁率为μ0=4π104H/km,在f=50Hz时,将式(12a)化简的表示式
为:
(12b)
8.3.2.4 限流电抗器阻抗
假设电抗器为几何对称,它们的正序、负序和零序阻抗相等。
8.3.2.5 电动机阻抗
对于同步电动机和同步调相机,在短路计算中均按同步发电机处理(见第三 篇)。
电网发生短路时,网内连接的异步电动机将向短路点反馈短路电流,在三相对称短路中反馈电流衰减很快,在电动机(组)的额定电流之和小于等于不计电动机算出的对称短路电流初始值的时,即下式成立时,不考虑影响
(13)
式中:ΣIr M——短路点近区的电动机(组)的额定电流之和;
I〃K——短路点近区无电动机(切断电动机)时的对称短路电流初始值。
有关异步电动机阻抗计算第三篇。
8.4阻抗、电流和电压的换算
若计算不同电压等级的短路电流时,需将某一级电压下阻抗、电流和电压值换算到另一级电压下的值,在换算时,若不知实际分接头位置,可用主分接对应的变比,即额定变比tr。
9 短路电流计算
9.1对称短路
9.1.1单电源馈电的三相短路
9.1.1.1对称短路电流初始值I”K
按图3结计计算I”K,即
(14)
式中:
——等效电压源;
RK——短路电阻,等于馈电网络电阻、变压器绕组电阻和线路电阻之和(见第8.3.2条),RK=RQt=RT=RL;
XK——短路电抗,等于馈电网络电抗、变压器电抗和线路电抗之和,XK=XQt+XT+XL;
ZK——短路阻抗(见第8.3.2条),
。
若短路阻抗中的电阻Rk <0.3 Xk时,可以忽略电阻,用Xk代替Zk。
对于本篇“远端短路”,即短路电流中交流分量不衰减的系统,其对称短路电流初始值I”K稳态短 路电流和开断电流I b者相等,即
(15)
9.1.1.2 短路电流峰值
单电源馈电的短路是串联供电电路,短路电流峰值
可按下式计算
(16)
式中:k——峰值系数;
——对称短路电流初始值;
系数κ可按下式作近似计算:
κ≈1.02+0.98![]()
也可按图8的R/X(或X/R)κ曲线查出。

图 8 单电源馈电短路的峰值系数κ与阻抗比的关系
9.1.2 非网状电网馈电的三相短路
9.1.2.1对称短路电流初始值I〃K
由多条并联支路电源馈电的三相短路,在短路点的对称短路电流初始值I〃K,开断电流Ib和稳态短路电流IK,均由各支路的I〃K、Ib和IK叠加而成。图9的电路,有支路电流I〃KT1,I〃KT2……按式(14)计算。
(17)
(18)
注:大多数情况下,短路时各支路短路电流的相角很接近,可用代数和代替其相量和如图9所示,在母线B和短路点F之间的阻抗ZBF<0.05UN(
)时,可以忽略ZBF,其中I〃KB是在母线上发生三相短路时由式(17)确定的母线上的对称短路电流的初始值。

图 9 多支路电源并联供电示意图
(在某些情况下母线B至点F间的阻抗可以忽略)
9.1.2.2短路电流峰值ip
由多电源并联向短路点馈电时,电流ip由各支路电流组成。图9所示电路中,有:
(19)
9.1.3网状电网内的三相短路
9.1.3.1对称短路电流初始值I〃K
在短路点用一等效电压源cUn
代替。对电路进行化简合并,计算出短路阻抗Zk=Z(1)在图10所示结线中,将所有阻抗归算到变压器低压侧。
电流I〃K按下式计算:
(20)
式中:
——等效电压源;
ZK——短路阻抗。
按式(15),IK=Ib=I〃K。

图10网状电网的计算示意图
注:电网经两台变压器T1、T2向短路点馈电
9.1.3.2 短路电流峰值ip
按式(16)计算网状电网中的短路电流峰值ip,其中系数k应根据要求的计算精度,可选用下列方法之一:
方法A 单一R/X或X/R
k=ka
取网络中R/X最小(或X/R最大)的支路的R/X值(或X/R值),从图8查得k。
在选取最小的R/X(或最大的X/R)的支路时,只需考虑这些支路当在短路点加上标称电压时,它们的短路电流之和占总短路电流的80%,任一支路可能是由多个支路串联组成。
对于低压网络,系数ka的限值为1.8。
若计算精度要求不高,可用方法A。
方法B 短路点阻抗的R/X或X/R:
系数k用下式计算:
k=1.15kb
(21)
式中,安全系数1.15是考虑到对具有复阻抗的网状电网进行简化时,用比值R/X可能产生的误差,kb根据短路阻抗
的R/X,从图8求取。
在低压网络中,乘积1.15kb的限值为1.8,在高压网络中,为2.0。
方法C等效频率fc∶k=kc
根据下式计算R/X或X/R,从图8求取
:
(22a)
(22b)
式中:Rc——阻抗
的实数部分,即为从短路点看的等效频率的等值有效电阻,与工频时的电阻R不相等;
Xc——阻抗
的虚数部分,即为从短路点看的等效频率的等值有效电,与工频时的电抗不相等。
=Rc+jXc=Rc+j2πfcLc为有源电压频率fc=20Hz时从短路点看的等效阻抗。
9.2 二相短路和单相接地短路
二相和单相接地短路的方式如图2中b、c和d三种。
如短路电流中交流分量是衰减的,即Z(2)/Z(1)<1(第三篇近端短路),根据图11可确定最大短路电流的短路型式。

图 11 确定最大短路电流的短路型式
对于本篇远端短路,Z(2)/Z(1)=1
若:Z(2)/Z(1)=0.5
Z(2/Z(1)=0.65
线对地短路导致最大短路电流。
9.2.1 二相不接地短路
9.2.1.1 短路电流初始值I〃K2
(23)
远端短路时Z(2) / Z(1),则:
(24)
对称短路电流I〃K2、稳态短路电流IK2和开断电流Ib2三者相等,即:
IK2=Ib2=I”K2
(25)
9.2.1.2 短路电流峰值iP2
iP2=k
I”K2
(26)
式中,系数k与电网结构有关,按第9.1.1.2或第9.1.3.2条计算,其值可采用三相短路时计算出的k值。
9.2.2 二相接地短路
9.2.2.1 短路电流初始值I〃K2E和I〃KE 2E
图2c中
(27a)
(27b)
其中
=
,
和
计算见式(4)。
图2c中,流入大地或地线中的电流IKE2E,按下式计算:
(28)
9.2.2.2 短路电流峰值ip2E
由于ip3≥ip2E,或ip1≥ip2E,因此,不再计算ip2E。
9.2.3 单相接地短路
9.2.3.1 短路电流初始值ip3≥I”K1
根据图2d接线,线对地短路电流初始值用下式计算:
(29)
对于远端短路,稳态短路电流IK1、开断电流Ib1和短路电流初始值I〃K1三者数值相等[见式(15)和(25)]:
IK1= Ib1=I”K1
(30)
9.2.3.2 短路电流峰值ip1
短路电流峰值ip1的表达式为:
(31)
系数κ与电网结构有关,按第9.1.1.2条和第9.1.3.2条计算。为简便起见,可用三相短路计算κ值。
9.3 最小短路电流
9.3.1 前提条件
计算最小短路电流时的前提条件是:
a.选用最小短路电流电压系数c(见表1);
b.选择电网结构及从电源和电网供给短路点的短路电流为最小时的供电方
式;
c.不计异步电动机影响;
d.计算线路阻抗时用较高温度时的电阻RL,计算式为:
(32)
式中:RL20——导线在20℃时的阻值;
θe——短路结束时的导线温度,℃;
0.004/℃——铜、铝和铝合金的温度系数。
9.3.2 对称短路电流初始值I”K
对称短路电流初始值I”K的最小值按下式计算:
(33)
式中:
,c从表1中选c的最小值。
计算不对称短路时,应考虑第9.3.1条的前提条件。
第三篇 短路电流中交流分量衰减的系数
(近端短路)
10 近端短路
近端短路的短路电流波形如图12所示。
通常,近端短路时,对称短路开断电流Ib小于I〃k,稳态短路电流Ik小于Ib。预期短路电流由幅值衰减的交流分量和以初始值A开始衰减到零的非周期分量组 成。

图 12 近端短路的电流波形图
I〃k—对称短路电流初始值;ip—短路电流峰值;
Ik—稳态短路电流;iDC—短路电流非周期分量;A—非周期分量iDC的初始值

图 13 不同电源的接线
非周期分量iDC按式(1)计算。
近端短路时,在某些特殊情况下,有可能在短路后过几个周波衰减的短路电流才第一次达到零,这种现象有可能发生在电机直流时间常数大于超瞬态时间常数的情况,对此,本标准不做详细的说明。
10.1 对称短路
三相短路时,只考虑正序短路阻抗。
10.2不对称短路
见第8.2条。
10.3 短路阻抗
除第8.3.2条外,还需引入发电机和电动机的阻抗,对于发电机—变压器组接线,其阻抗计算应按第10.3.2.7条和10.3.2.8条计算。
10.3.1 短路点F的短路阻抗
见第8.3.1条和图4。
10.3.2 电气设备短路阻抗
除按第8.3.2条考虑,对电动机和发电机还应按第10.3.2.5条到第10.3.2.8条考虑。
10.3.2.1 馈电网络
计算馈电网络阻抗时,仍应按第8.3.2条计算。
10.3.2.2 变压器阻抗
发电机—变压器组结线中的变压器除按第8.3.2.2条,还应按第10.3.2.7条和第10.3.28条计算。
10.3.2.3 架空线和电缆阻抗
按第8.3.2.3条计算。
10.3.2.4 限流电抗器阻抗
按第8.3.2.4条计算。
10.3.2.5电动机阻抗
计算三相对称短路电流初始值I〃k时,同步电动机和同步调相机均按同步发电机处理(见第10.3.2.6、10.3.2,7、10.3.2./8和12.1条)。
在正序、负序网络中,异步电动机阻抗用下式计算:
(34)
式中:UrM——电动机额定电压;
IrM——电动机额定电流;
SrM——电动机额定视在功率,SrM=PrM/(
);
ILR/IrM——电动机堵转电流与额定电流之比。
也可以用下式对阻抗ZM进行估算,其值也满足工程要求。
对于极功率PrM≥1MW的高压电动机:
XM=0.995 ZM时,RM / XM
=0.10;
对于极功率PrM<1MW的高压电动机:
XM=0.989 ZM时,RM / XM
=0.15;
有连接电缆的低压电动机组:
XM =0.922 ZM 时,RM / XM
=0.42。
静止变频器驱动的电动机按异步电动机处理,它的阻抗仍按式(34)计算,式中各符号的意义是:
ZM——按式(34)算出的阻抗;
UrM——静止变频变压器电网侧额定电压或无变压器时的静止变频器的额定电压;
IrM——静止变频变压器电网侧额定电流,或无变压器时静止变频器的额定电流;
ILR/IrM——堵转电流与额定电流之比,其值等于“3”,XM=0.995ZM时,RM/XM=0.10。
10.3.2.6 直接与系统连接的发电机阻抗
发电机不经变压器直接与电网相连,在计算三相对称短路电流初始值时,应按式(35)计算发电机的正序阻抗:
(35)
式中:KG为校正系数,按式(36)计算如下:
(36)
式中:cmax——电压系数(见表1);
Un——系统标称电压;
UrG——发电机额定电压;
——发电机校正阻抗;
——发电机阻抗(
=RG+jX″d);
x〃d——归算到额定阻抗时的发电机超瞬态电抗,x〃d=X〃d/ZrG
——发电机额定电流
与额定电压
/
间的相角。

图 14 同步发电机在额定工况下的相量图
在计算单台发电机馈电的短路电流时,由于用等效电压源
代替同步发电机的超瞬态电势E〃,因此发电机的阻抗应用校正阻抗
。
电阻RG和超瞬态电抗X〃d的关系式可根据发电机额定电压和视在功率按以下范围选用:
对UrG>1kV,SrG≥100MVA的发电机:RG=0.05X″d
对UrG>1kV,SrG<100MVA的发电机:RG=0.07X″d
对UrG≤1000V的发动机:RG=0.15 X″d
除直流分量衰减外,系数0.05、0.07和0.15还考虑了交流分量在发生短路后的头半个周期内的衰减。没有考虑不同绕组温度对RG的影响。
注:同步电机定子有效电阻一般远低于上面给出的RG值。
在负序和零序网络中,同步发电机阻抗计算如下:
(37)
其中对于凸极机,
零序阻抗:
(38)
计算二相短路和单相接地短路时也应按式(36)考虑阻抗校正系数。
10.3.2.7 发电机—变压器组中的发电机和变压器阻抗
发电机的校正阻抗:
(39)
校正系数:
(40)
变压器的校正阻抗:
(41)
校正系数:
(42)
式中:
——发电机的校正阻抗;
——变压器的校正阻抗;
——发电机阻抗,
;
——归算到低压侧的变压器阻抗;
——归算到发电机额定阻抗时的发电机超瞬态电抗;
——发电机额定电流IrG与电压UrG间XZ的相角。
若需将阻抗
和
归算到高压侧,可用假想变比tf换算。
短路点位于发电机—变压器组中的发电机与变压器之间时,当发电机机端标称电压不能确定时,
中的Un用发电机额定电压UrG,即
,否则,仍取为系统标称电压。
注:①式(40)和式(42)的条件是Un=UnQ及UG=UrG。但对于以下两种情况,对校正系数应给予专门考虑:a.发电机—变压器组中的变压器带有分接开关时与电网连接点Q的电压UQmin始终大于该点的标称电压UnQ(即UQmin>UnQ)和(或)发电机电压大于它的额定电压(UG>UrG)时;b.或发电机—变压器组中的变压器不带分接开关,UG始终大于UrG(即UG>UrG)时。
②不对称短路时,计算负序、零序阻抗用的校正系数正在考虑之中。
10.3.2.8 发电机—变压器组的阻抗
在发电机—变压器组结线中,短路点位于变压器高压侧时,发电机—变压器组的阻抗,应是经校正后的阻抗,即:
(43)
Kpsu为校正系数,其值为:
(44)
式中:
——校正后的发电机—变压器组阻抗;
——发电机阻抗,
;
——归算到高压侧时的变压器阻抗;
UnG——发电机—变压器组连接点Q的系统标称电压;
tr——在主分接时的变压器额定变比;
tf——变压器的假想变比,tf=Un/UrG=UnQ/UrG;
x〃d——归算到额定阻抗时的发电机超瞬态电抗,x〃d=x〃d/ZrG;
——发电机额定电流IrG与电压UrG间的相角;
xt——归算到发电机额定阻抗时的变压器电抗。
注:①式(44)的条件是UQ=UnG及UG=UrG。但对于以下两种情况,其校正系数应给予专门考虑:a.发电机—变压器组中的变压器带有分接开关时,与电网连接点Q的电压UQmin始终大于该点的标称电压UnG(UQmin>UnG)和(或)发电机电压大于它的额定电压(UG>UrG)时;b.或发电机—变压器组中的变压器不带分接开关 时,UG始终大于UrG(即UQ>UnG)时。
②不对称短路时,计算负序、零序阻抗用的校正系数正在考虑之中。
10.4 阻抗、电流和电压的换算
将阻抗、电流和电压从一个电压级换算到另一电压级时,除按第11.1.2.1和第11.1.3条,还应按第8.4条。
11 短路电流计算
为了计算短路点的对称短路电流初始值I〃k、开断电流Ib和稳态短路电流Ik,可用适当的变换将系统化简成一等效短路阻抗。在计算短路电流峰值ip时,需区别电路有无并联支路,因此上述电路化简方法不适用。
11.1 对称短路
11.1.1 一台发电机馈电的短路
11.1.1.1 对称短路电流初始值I〃k
在图13a.1和图15中,用等效电压源
和短路阻抗
计算I〃k。
(45)
计算最大短路电流时的c选用表1中的cmax
注:通常,发电机的额定电压较系统标称电压Un高出5%。

图 15 一台发电机馈电短路示意图
11.1.1.2 短路电流峰值ip
短路电流峰值ip的计算见第9.1.1.2条,发电机的电阻和电抗应用校正后的值,即KGRG和KGI〃d。
11.1.1.3 对称开断电流Ib
对称开断电流Ib是电流I〃k在经一短暂时间衰减后达到的值,用系数μ表
示衰减常数,即
Ib=μI〃k
(46)
μ与tmin和I〃k/IrG比值有关,可根据I〃k/IrG比值和选择的tmin计算,推荐算式如下:
(47)
上式中,μ值适用于旋转励磁机或静止整流励磁装置励磁的汽轮发电机、凸极发电机和同步调相机(用静止整流励磁装置励磁时,其最小延时tmin应小于0.25s,最高励磁电压小于1.6倍额定负载下的励磁电压)。式中的I〃kG(I〃kG为发电机端的短路电流)和IkG应归算到同一电压下的值。计算电动机的μ值时,式中I〃 kG/IkG用I〃kM/IrM(见表2)代替。
当I〃kG/IkG≤2,式(47)中μ值取1。对于其他情况,若实际值不知道,可取μ=1。
μ值也可按图16查曲线,对于相邻最小延时tmin曲线间对应的μ值,可用线性插值求取。
图16曲线也适用于具有最小延时tmin≤0.1s复式励磁的低压发电机。tmin>0.1s的低压发电机开断电流计算不属此范围。

图 16 计算开断电流Ib用系数
11.1.1.4 稳态短路电流Ik
稳态短路电流Ik与铁芯饱和度和电网中开关状态有关,因此对Ik的计算精度比对称短路电流初始值I〃k计算精度要低。这里给出的方法是足以估算由一台发电机或同步电机分别供电的短路电流的上、下限值。
a.稳态短路电流的最大值(上限)Imax
Imax=λmax IrG
(48)
式中,IrG为发电机额定电流,系数λmax根据图17或18求得,xdsat(饱和电抗)为短路比的倒数。
b.稳态短路电流的最小值Ikmin
Ikmin=λmin
IrG
(49)
λmin根据图17或图18求得。为计算稳态短路电流最小值,假设同步发电机为恒定的空载励磁。
注:对于没有电流串励的静止励磁装置励磁的发电机,机端母线三相短路电流的最小稳态值为零。

图 17 汽轮发电机的λmax和λmin曲线

图 18 凸极电机的λmax和λmin曲线
曲线簇Ⅰ中的λmax曲线是在额定负载、额定功率因数下,对于汽轮发电机(图17a)是在励磁顶值为1.3倍额定励磁时绘制的,对于凸极电机(图18a)是在励磁顶值为1.6倍额定励磁时绘制的。
曲线族Ⅱ中的λmax曲线是在额定负载、额定功率因数下,对于汽轮发电机(图17b)是在励磁顶值为1.6倍额定励磁时绘制的,对于凸极机(图18b)是在励磁顶值为2倍额定励磁时绘制的。
11.1.2 由发电机—变压器组馈电的短路
11.1.2.1 对称短路电流初始值I〃k
以图13a.2和图19结线为例,在计算F点短路时的电流I〃k所用的阻抗应为校正后的发电机和变压器阻抗(见10.3.2.7条)与线路阻抗之和,即:
(50)
按第10.3.2.8条计算发电机—变压器组阻抗时,
为:
(51)

图 19 发电机—变压器组馈电的短路
11.1.2.2 短路电流峰值ip
按第9.1.1.2条计算短路电流峰值ip时,对于发电机和变压器的阻抗应用校正后的值(见第10.3.2.7和10.3.2.8条)。
11.1.2.3 对称开断电流Ib
按第11.1.1.3条计算Ib时,其中的系数μ按式(47)或图16计算或求取,I〃kG用I〃kpsut=trI〃kpsu代替。
11.1.2.4 稳态短路电流Ik
短路由发电机—变压器组馈电时,按第11.1.1.4条计算Ik,此时,I〃kG用I〃kpsu=tr I〃kpsu代替。
11.1.3 非网状电源馈电的三相短路
对于图13b非网状源馈电及虽经一共用阻抗Z但Z<0.05UnB/(
I〃kB)(如图13c)馈电的短路均按本条计算。
用等效电压源计算短路时,Un为短路系统的标称电压,不经变压器直接向短路网络馈电的发电机阻抗应用校正后的阻抗(见第10.3.2.6条),发电机—变压器组结线的发电机和变压器阻抗应用校正后的阻抗(见第10.3.2.7或10.3.2.8条)。有电动机接入时,除同步电动机和同步调相机的阻抗按发电机处理外,异步电动机的阻抗按第10.3.2.5条处理。
非网状电源馈电时用等效电压源计算I〃k的典型例子,见图20。

图20 非网状电源馈电的I〃k算例
在图21中点F1短路时,发电机和变压器供给的短路电流按下式计算:
(52)
(53)

图 21 在发电机和变压器间及厂用母线A上短路的短路电流
式中:I〃kG——发电机供给的对称短路电流初始值;
I〃kT——变压器供给的对称短路电流初始值;
——发电机校正阻抗,按式(39)计算;
——变压器校正阻抗,按式
(41)计算;
tf——假想变比,tf=UnQ/UrG;
ZQmin——在节点Q为最大短路功率S〃Qmax时的最小阻抗,S〃Qmax为系统内电站在有效期内的最大可能值。
点F2短路时,厂变高压侧的短路电流I〃k为:
(54)
点F3短路时的IkAT按11.1.4.1条计算。
11.1.3.1 对称短路电流初始值I〃k
在计算如图22所示的非网状电源馈电的短路电流I〃k时,总的短路电流I〃k等于各支路电流的代数和,即:
(55)

图22 按式(55)~(58)计算非网状电源馈电的三相短路电流
、ip、Ib和Ik
11.1.3.2 短路电流峰值ip、对称开断电流Ib和稳态短路电流Ik如若干电源向短路点馈电时,三相短路的短路电流峰值ip和开断电流Ib分别等于各支路的电流ip和Ib 之和。
图22中点F短路,有:
ip=ipPSU+ipT+ipM+…
(56)
Ib=IbPSU+I〃kT+IbM+…
(57)
Ik=ibPSU+I〃kT+…
(58)
电动机不向短路点馈送稳态短路电流,即Ikm=0(见表2)。
各支路电流按以下有关条款计算:
电网馈电支路的短路电流按第8.3.2.1条计算;
不经变压器直接向短路点馈电的发电机支路中的短路电流按第11.1.1条计 算;
发电机—变压器组支路中的短路电流按11.1.2条计算;电动机支路中的短路电流按第10.3.2.5和12章计算。
在短路时假设发电机失步,产生稳态短路电流IkG≈IbG或IkPSU≈IbPSU,对于电网馈电支路有Ik=Ib=I〃k。
11.1.4 网状电网中的三相短路
11.1.4.1 对称短路电流初始值I〃k
用短路点的等效电压源,用式(45)计算I〃k。元件阻抗按第10.3.2(含11.1.2)条计算。在图21中的点F3短路,厂用变压器供给的短路电流为I〃kAT时,用变比
将阻抗[见式(54)]
换算到低压侧。
经变压器连接到有短路的系统,其阻抗应用连接的变压器变比的平方换算,如果有多台变压器其变比略有差异,即:tr1、tr2…tm时,取他们的平均值(见图13和图23)。

图23 由多电源向电网馈电时的I〃k算例
* 一台电动机的阻抗或电动机组的等效电动机的阻抗
11.1.4.2 短路电流峰值ip
ip按第9.1.3.2条计算。
11.1.4.3 对称开断电流Ib
用简便算法,令电网中的电流Ib等于电流I〃k,即:
Ib=I〃k
(59)
按式(59)算出的电流Ib比实际电流要大。
注:更精确的计算,推荐下式:
(60)
(61)
(62)
式中:
——短路点等效电压源;
I〃k,Ib——分别为对称短路电流初始值及考虑电网馈电、同步电机和异步电动机影响时的对称开断电流;
,
——分别为同步电机i和异步电机连接点j的初始电压差;
,
——分别为同步电机i和异步电机j的对称短路电流初始值;
μ——用I〃kGi或I〃kMj/IrMj根据式(47)计算的值或按图16查出的 值;
q——电动机反馈的开断电流衰减系数,见第12.2条和图25。
式(61)和式(62)值应归算至同一级电压。
11.1.4.4 稳态短路电流Ik
计算式:
Ik=I〃kM
(63)
式中:I〃kM——无电动机反馈电流时算出的短路点的对称短路电流初始值。
11.2 两相短路和单相接地短路
见第9.2条不对称短路计算。
11.3 最小短路电流
计算最小短路电流除按第9.3条计算还要按本条有关条款。
在用阻抗校正公式(36)、式(40)、式(42)和式(44)时需仔细考虑,对于欠励磁运行的发电机尤其如此。
11.3.1 对称短路电流初始值I〃k
11.3.1.1 一台发电机馈电的短路
根据第11.1.1条计算对称短路电流初始值I〃k时,其中的系数c从表1选计算最小短路电流的c值。
对于相近的多台发电机并联馈电的短路,也可用本条计算。
11.3.1.2 网状电网中的短路
根据第11.1.4条计算对称短路电流初始值I〃k,其中的系数c从表1选计算最小短路电流的c值。
11.3.2 复式励磁发电机馈电的稳态短路电流I〃kmin
由一台或多台相近的复式励磁发电机并联馈电的近端短路,其最小稳态短路电流根据下式计算:
(64)
发电机的计算电抗为:
(65)
式中,IkP为复式励磁发电机端三相短路时的稳态短路电流,该值可从制造厂取得。
11.3.3 不对称短路时的短路电流初始值
不对称短路时的短路电流按第9.2和第11.2条计算。
系数c从表1中选用计算最小短路电流的c值。
12 电动机影响
12.1 同步电动机和同步调相机
计算同步电动机和同步调相机供给的短路电流I〃k、ip、Ib和Ik的方法与同步发电机相同。下列情况例外:内电势不改变;电动机磁场电压为恒定且无调节器。具有自并激的静止励磁的电动机和调相机对短路点不反馈稳态短路电流Ik。
12.2 异步电动机
高压电动机和低压电动机对对称短路电流初始值I〃k、短路电流峰值ip和开断电流Ib有影响。在不对称短路时,还对稳态短路电流Ik有影响。
短路计算中必须考虑高压电动机影响,对于发电厂的厂用电和工业设备或与此类似的设备,如化工、钢铁工业自用电网和泵站中的低压电动机也应考虑其影响。
对于城市公用事业用低压电动机可以忽略不计。
计算短路电流时,根据电路图(联锁)或工作过程(可逆运行),可以略去不同时接入的那些高、低压电动机。
在图24结线中,若短路点位于变压器高压侧Q处,在满足下式时,电动机的反馈电流可以忽略。
(66)
式中:ΣPrM——电网内连接的高低压电动机的额定有功功率之和;
ΣSrT——向电动机馈电的所有变压器的额定视在功率之和;
S〃kQ——结点Q处无电动机反馈电流时的对称短路功率初始值。
式(66)不适用于三绕组变压器。
可以把计算异步电动机对称开断电流系数q规定为最小延时tmin的函数:
(67)
式中:m——电动机每对极的额定有功功率(MW)。
按式(67)算出的q值大于1时,取q=1。系数q还可按照图25,根据电动机每对极功率m和最小延时tmin求取。
为使计算简便,常常将图24中的低压电动机用一等效电动机代替(包括连接的电源电缆)。对于等效电动机的有关数据作如下处理:
ZM——根据式(34)计算;
Irm——等效电动机额定电流,等于各电动机额定电流之和;
ILR/Irm——即ILR/Irm=5;
RM/Xm——即RM/Xm=0.42相应的峰值电流系数
=1.3;
m——电动机每对极的额定有功功率(MW),不知道具体值时可用0.05MW。
如短路点位于低压电动机母线B上(图24),在满足下列关系时,母线B上连接的电动机可以忽略。
(68)
式中:Irm4——等效电动机的额定电流;
I〃rm4——母线B上不计电动机反馈电流时在该点的对称短路电流初始值。
若短路点位于图24中的Q点或母线A上,计算中可用变压器T3的额定电流代替等效电动机的额定电流Irm4。

图 24 异步电动机向短路点反馈电流的估算实例

图 25 异步电动机对称开断电流的计算用系数q
12.2.1 异步电动机机端短路
对于异步电动机机端对称短路和两相短路,其电流I〃k、ip、Ib和Ik可按表2公式计算。
对于中性点接地的电网,电动机机端单相接地短路电流不能忽略。
12.2.2 异步电动机经一阻抗后短路
根据第11.1.3条和第11.1.4条计算对称短路电流初始值。在正序和负序网络中的异步电动机,其阻抗按式(34)计算。
表2 异步电动机机端短路时的短路电流计算式
|
短路 |
对称短路 |
两相短路 |
|
对称短路电流初始值 |
|
|
|
短路电流峰值 |
|
|
|
高压电动机:
有联接电缆的低压电动机组:
|
||
|
对称开断电流 |
Ib3M=μqIk3M |
|
|
μ根据方程式(47)或图16用I″kM/IrM求出,q根据方程式(67)或图25求出 |
||
|
稳态短路电流 |
Ik3M=0 |
|
12.3 静止变频器驱动电动机
只有在发生三相短路,且短路瞬间利用电动机的转动惯量和静止变频器进行反馈制动(短暂的逆变运行)时,才计及静止变频器驱动的电动机(如轧钢机的驱动电动机)对对称短路电流初始值Ik和短路电流峰值ip的反馈影响。不计对开断电流Ib的影响。
驱动电动机的等效电动机阻抗按第10.3.2.5条计算。
13 非旋转负载和电容器
在短路计算中不计线路电容和非旋转负载的并联导纳。
13.1 并联电容器
在计算短路电流峰值时可以不计电容器的放电电流。
13.2 串联电容器
如果串联电容器并联有短路限压器时,可以不计串联电容器的影响。